Ir directamente a la información del producto
Agregar al carrito

Productos recientemente vistos

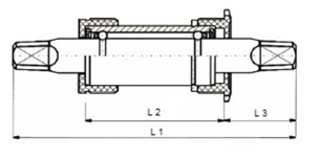
Heb je vragen over deze BSA Bottom Suprandet 123 mm BSA? Neem dan conact met ons op.

Vragen? Neem contact met ons op, wij helpen u graag verder.

Ons adres:

Fietsaccessoires.nl
's Gravendamseweg 67 L
2215 TG Voorhout
Nederland

Fietsaccessoires.nl is een onderdeel van Tormino B.V.

Email: support@tormino.com
Kvk nummer: 84663545
BTW nummer: NL8633.03.808.B.01